menu

微信公众号多客服功能怎么使用?知你客服公众号客服系统

小知你 更新时间更新时间:2026-04-19 00:52 浏览量458人浏览
如果想要提高公众号的服务与转化,就会使用到多客服系统,接下来给大家对比下2款工具。

微信多客服

后台 – 插件 – 客服功能 – 最多100个 – 在线客服链接 – 与粉丝聊天

微信多客服的不足

没有消息提醒,不支持移动端,聊天记录只能保留5天……

第三方微信多客服工具

微信公众号多客服功能怎么使用?知你客服公众号客服系统

1.粉丝消息智能分类,消息及时提醒,统一结束接待,星标置顶,基本资料管理等
比如某些重要的粉丝,可以先星标置顶,重点跟踪维护,打上标签。
2.当有粉丝进入微信公众号时,能收到关注的提示,主动沟通,提升粉丝对话率。
第一时间知道关注粉丝你了,还愁没有用户咨询吗?
3.支持快捷回复(文字,图片),超48小时回复,发送微信素材,发送文件等
把常见问题导入下次轻松使用,超时不能回复迎难而解。
4.与粉丝对话记录永久保存,支持统一查看,搜索查询等
不用担心找不到聊天记录了,关键信息统一查找。
5.多客服批量管理
在知你客服后台,可以管理所有员工;

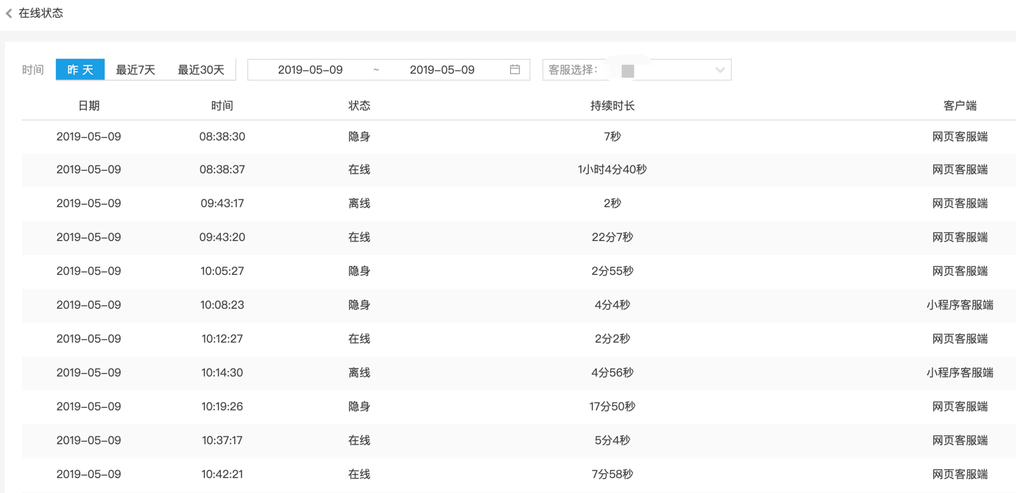
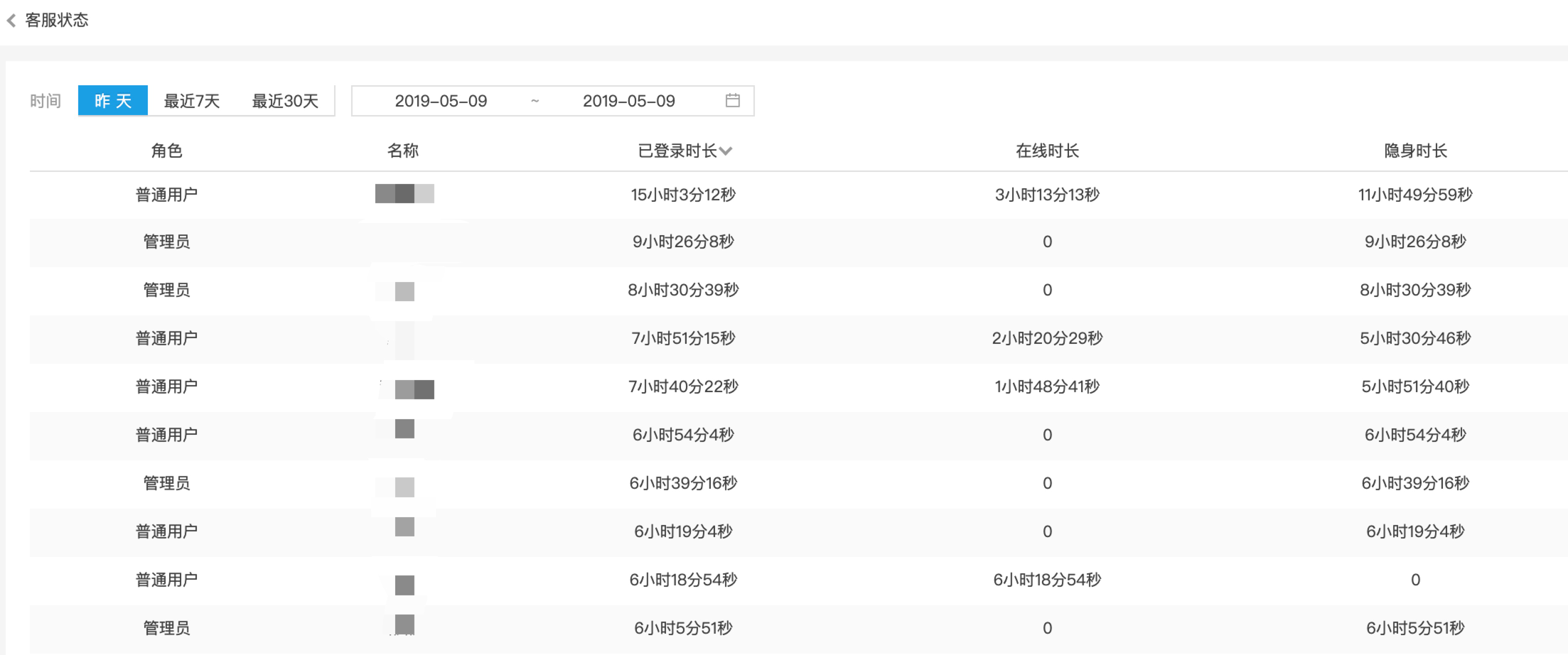
微信公众号多客服功能怎么使用?知你客服公众号客服系统

还可以查看所有员工的工作状态,工作时间以及聊天记录,随时随地掌握员工上班情况,禁止摸鱼~

微信公众号多客服功能怎么使用?知你客服公众号客服系统
微信公众号多客服功能怎么使用?知你客服公众号客服系统
微信公众号多客服功能怎么使用?知你客服公众号客服系统

掌握多客服功能从扫码开始

微信公众号多客服功能怎么使用?知你客服公众号客服系统

责任编辑:小知你